РИФ-Link в корпусе RR
Модуль передачи сообщений РИФ-LINK (далее – радиомодем или просто модем). Радиомодем предназначен для подключения к системе Болид с протоколом Орион и обеспечивает работу системы по радиоканалу с дальностью связи до 5км (в условиях прямой видимости при отсутствии помех в эфире).
Радиомодем может использоваться с штыревой антенной, входящей в комплект поставки, или с различными выносными антеннами, обеспечивающими более высокую дальность. Даль ность передачи в условиях реальной эксплуатации зависит от наличия и характера препятствий распространению радиоволн (стен, потолочных перекрытий, строений, рельефа местно сти, густой растительности), от интенсивности радиопомех, погодных условий, типа антенны и т.п.
Сертификат соответствия № ЕАЭС RU C-RU.ПБ74.В.00064/20

Основные технические характеристики:
-
Основное питание: 12В/24В,
-
Резервное питание: 12В/24В,
-
Максимальный ток потребления: 100мА,
-
Скорость передачи данных по RS485: 9600бод,
-
Скорость передачи данных по радиоканалу: 4800 бод,
-
Диапазон рабочих частот: 433,92 МГц ± 0,2% (10 частотных литер),
-
Чувствительность приемника: -124дБм,
-
Выходная мощность передатчика: 5/50мВт.
-
Диапазон рабочих температур: от -40 до +50°С
-
Габаритные размеры: 75 х 120 х 32 мм (без антенны)
1. Светодиод «Режим»
В рабочем режиме светодиод «Режим» горит зеленым цветом, гаснет при приеме по радиока налу, при передаче светодиод загорается красным. В режиме теста для модема с настройкой пульта светодиод горит красным цветом при пере даче сигнала запроса, загорается зеленым, если получен ответ. Для модема с настройкой объектового прибора светодиод горит красным при передаче ответа на запрос. В режиме программирования светодиод горит желтым цветом.
2. Светодиод «Связь»
В рабочем режиме при устойчивой связи светодиод «Связь» горит зеленым цветом, при поте ре связи светодиод загорается красным.
3. Светодиод «Питание»
При напряжениях основного и резервного питания более 10В светодиод «Питание» горит зе леным цветом, при напряжении одного питания более 10В, а другого ниже 10В светодиод горит желтым, при напряжении основного питания ниже 10В и напряжении резервного питания ниже 10В светодиод горит красным цветом.
Программирование
Перед подключением необходимо провести программирование параметров модемов и приборов Болид. Программирование модема подключаемого к пульту контроля и управления ПКУ «С2000-М» Для программирования параметров модема необходимо подключить разъем Х8 (мини USB) платы модема (см. монтажную схему платы модема, рис. 5) к компьютеру по интерфейсу USB (при этом питание на модем подавать необязательно) либо по RS485 с помощью преобразователя USB-RS485 (необходимо подать питание на модем). Светодиод РЕЖИМ загорится желтым цветом. Предварительно перемычка J1 платы модема должна быть надета, J2 снята. На компьютере открыть программу «Программатор радиомодема РИФ Link» (см. рис. 2).

После подключения модема и открытия программы надо выбрать com-порт, к которому под ключен модем.
Затем необходимо запрограммировать:
- Номер системы;
- Частотную литеру;
- Мощность передатчика.
Кроме того, в окне «Тип модема» необходимо выбрать тип модема – «Пульт Болид».
После чего «кликнуть» по кнопке «Записать в модем» в программе.
После окончания программирования перемычку J1 необходимо снять для перехода в рабочий режим.
Программирование пульта контроля и управления ПКУ «С2000-М»
Пульт контроля и управления ПКУ «С2000-М» (далее ПКУ) программируется согласно своему руководству по эксплуатации. Необходимо запрограммировать:
- "Пауза перед ответом по RS232" - 6 мс;
- "Пауза перед сеансом без смены направления" – 10 мс;
- "Пауза перед сеансом со сменой направления" – 10 мс;
- "Пауза после общей команды" – 200 мс;
- "Тайм-аут для ответа при поиске" – 140 мс;
- "Тайм-аут ответа на запрос событий" – 500 мс;
- "Тайм-аут для ответа на команду" – 1000 мс;
- "Количество попыток передачи общей команды" – 3;
- "Количество попыток передачи команды" – 3;
- "Количество попыток опроса" – 6.
Программирование модема подключаемого к объектовым приборам
Перед подключением необходимо провести программирование параметров модема и приборов.
Перемычка J1 платы модема должна быть надета, J2 снята. Для программирования параметров модема необходимо подключить разъем Х8 (мини USB) платы модема (см. монтажную схему платы модема, рис. 5) к компьютеру по интерфейсу USB (при этом питание подавать необязательно) либо по RS485 с помощью преобразователя USB-RS485 (необходимо подать питание на модем). На компьютере открыть программа «Программатор радиомодема РИФ Link». После подключения модема и открытия программы надо выбрать com-порт, к которому подключен модем. Затем необходимо запрограммировать:
- Частотную литеру;
- Мощность передатчика.
После чего «кликнуть» по кнопке «Записать в модем» в программе.
После окончания программирования перемычку J1 необходимо снять для перехода в рабочий режим.
Все радиомодемы одной и той же системы должны иметь одинаковые номер системы и частотную литеру. Необходимо исключить работу нескольких расположенных рядом систем на одной и той же частотной литере.
Программирование объектовых приборов системы Болид
В объектовых приборах системы Болид необходимо запрограммировать: - "Пауза перед ответом по RS485" - 6 мс.
Остальные настройки объектовых приборов на модем не влияют.
Подключение
Подключение модема к пульту Модем и ПКУ соединяются двухпроводной шиной RS-485 и линией общего провода, при этом соединяются одноименные колодки всех устройств («А» с «А», «В» с «В»). Суммарная длина шины не более 1000 м. Используйте для шины витую пару и не прокладывайте ее вблизи ис точников электромагнитных помех, а также вдоль проводников сети 220 В, к которой подключены мощные потребители.
Кроме модема к ПКУ можно подключить по интерфейсу RS-485 объектовые приборы системы Болид (см. руководство по эксплуатации ПКУ).
ВНИМАНИЕ! На последних устройствах с обоих концов шины должны быть установлены перемычки, подключающие к линии RS-485 согласующие резисторы.
Подключение модема к объектовым приборам
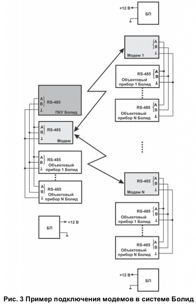
К одному модему можно подключить несколько объектовых приборов системы Болид с прото колом Орион. Например, приборы приемо-контрольные «Сигнал-20» или «С2000-4» (далее – прибор).
Модем и приборы соединяются двухпроводной шиной RS-485 и линией общего провода, при этом соединяются одноименные колодки всех устройств («А» с «А», «В» с «В»). Суммарная длина шины не более 1000 м. Используйте для шины витую пару и не прокладывайте ее вблизи источников электромагнитных помех, а также вдоль проводников сети 220 В, к которой подключены мощные потребители.
ВНИМАНИЕ! На последних устройствах с обоих концов шины должны быть установлены перемычки, подключающие к линии RS-485 согласующие резисторы
Пример подключения модемов в системе Болид приведен на рис. 3.

Режим фильтрации по номерам
Для режима фильтрации телеграмм в радиомодеме по номерам необходимо записать номера всех приборов системы Болид (номера присваиваются в системе Болид), подключенных к этому радиомодему по интерфейсу RS485. Фильтрация позволяет уменьшить загрузку радио канала при смешанном подключении приборов к пульту и по RS485 и по радиоканалу. Для записи номеров в модем необходимо подключить разъем Х8 (мини USB) платы модема (см. монтажную схему платы модема, рис. 5) к компьютеру по интерфейсу USB (при этом пи тание подавать необязательно). Предварительно перемычка J1 платы модема должна быть надета, J2 снята. На компьютере открыть программу «Программатор радиомодема РИФ Link». После подключения модема и открытия программы надо выбрать com-порт, к которому под ключен модем. Затем «кликнуть» по кнопке «Прочитать из модема». Затем поставить «галочку» в окне программы «Фильтрация номеров приборов». В открывшейся таблице надо пометить «галочкой» все номера приборов, подключенных к данному модему (см. рис. 4). После чего «кликнуть» по кнопке «Записать в модем» в программе.

Режим тест
Режим служит для проверки связи между двумя модемами. В режиме ТЕСТ модем, настроенный как модем пульта, периодически передает тестовые телеграммы и принимает ответ от модема, настроенного как модем объектового прибора, при этом обмен по RS485 не происходит.
Для перехода в режим ТЕСТ надо выключить питание модема, надеть перемычку J2 на оба контакта (перемычка J1 снята)) и включить питание.
Светодиод «РЕЖИМ» модема с настройкой пульта загорается красным цветом при передаче сигнала запроса, загорается зеленым, если получен ответ, а светодиод «РЕЖИМ» модема с настройкой объектового прибора загорается красным при передаче ответа на запрос. Нормальной работой модемов считается, когда модем с настройками пульта получает около 80% ответов на запрос.
Настройки этих модемов в части номера системы и частотной литеры должны совпадать.
Источник питания
Может использоваться любой внешний стабилизированный источник питания постоянного тока, обеспечивающий напряжение и ток согласно техническим характеристикам модема. На случай отключения сети 220В рекомендуется использовать источник с резервным аккумуля тором. Основное питание подается на вход U1, резервное питание подается на вход U2. Если резервное питание не используется, рекомендуется соединить входы U1 и U2. Т.к. модем используется с охранно-пожарным прибором, то можно подключить модем к его блоку питания. Убедитесь, что блок питания прибора имеет запас по току нагрузки, необходи мый для работы модема.
Выбор антенны и места для установки
- Модем со штыревой антенной
При небольшом расстоянии между модемом, подключенным к ПКУ Болид и модемом, подключенным к объектовым приборам Болид (порядка 500-1000 м) и при отсутствии серьезных препятствий распространению радиоволн, модемы можно использовать со штыревой антенной, входящей в комплект. Модем со штыревой антенной следует устанавливать на максимальном расстоянии от линий электропроводки и массивных металлических предметов (сейфы, стеллажи, трубы, решетки и т.п.), как можно выше, но не ближе 50 см от потолочного перекрытия, особенно если оно изго товлено из железобетона. Металлические предметы и арматура железобетонных стен и пере крытий ухудшают работу антенны и снижают дальность передачи. На кирпичную или деревянную стену модем можно крепить непосредственно. К железобетон ным стенам модем рекомендуется крепить при помощи неметаллического кронштейна или иным способом, обеспечивающим зазор между антенной и стеной не менее 10 см (например, на деревянный шкаф). Иногда перемещение модема со штыревой антенной внутри помещения всего на несколько метров может существенно улучшить надежность и дальность связи. Настоятельно рекомендуется испробовать несколько мест установки и выбрать оптимальное с точки зрения прохож дения радиосигналов.
- Модем с выносной антенной
Для обеспечения высокой дальности и надежности связи, особенно в городской застройке и при наличии помех, крайне желательно всегда использовать выносную антенну, размещенную снаружи помещения. Для модема, подключенного к ПКУ, в случае его работы с модемами, подключенными к объектовым приборам и расположенными в разных направлениях от модема с ПКУ, рекомендуется антенна с круговой диаграммой направленности, например АШ-433. Для модемов, подключенных к объектовым приборам рекомендуется компактная и недорогая направленная антенна АН2-433, имеющая усиление 3-4 дБ и обеспечивающая дальность на открытой местности 2-3 км. В особо сложных условиях или на пределе дальности следует использовать многоэлементную направленную антенну АН-433, обеспечивающую дальность на открытой местности до 5 км. Место размещения выносной антенны выбирается с учетом рекомендаций ее руководства по эксплуатации. Место размещения модема при использовании выносной антенны не критично.
Установка и монтаж
Для крепления к стене в верхней и нижней части основания корпуса имеются два овальных крепежных отверстия. Наметьте места под два шурупа, просверлите отверстия и закрепите передатчик на стене, но пока не затягивайте шурупы. Форма отверстий позволяет скомпенсировать неточность разметки крепежных отверстий и выровнять передатчик.
Пропустите проводники линий питания, шлейфов, выносного светодиода и выключателя ВЗЯТ-СНЯТ через отверстия в основании корпуса передатчика и подключите к винтовым ко лодкам согласно монтажной схеме. Выровняйте основание и затяните шурупы. Установите нужный режим работы передатчика с помощью джамперных перемычек.
Установите штыревую антенну, входящую в комплект, в правое гнездо антенной колодки в верхней части платы и закрепите винтом. Если используется выносная антенна, то централь ная жила коаксиального кабеля фидера присоединяется к правому гнезду антенной колодки, а оплетка – к левому гнезду.
Установите крышку корпуса, закрепите ее винтом. Окончательно проверьте работу передатчика в составе системы тревожной сигнализации.
Переключение мощности и правила использования
Возможно два варианта установки выходной мощности передатчика модема:
2. порядка 50-мВт.
Порядок использования радиопередающих устройств на территории РФ определяют Правила регистрации радиоэлектронных средств и высокочастотных устройств (утверждены постанов лением Правительства РФ от 12 октября 2004 г. №539). В соответствии с этими Правилами, устройства охранной сигнализации и оповещения, работающие в полосе радиочастот (433,92 ± 0,2%) МГц с мощностью излучения передатчика до 5 мВт, регистрировать не требуется. Таким образом, при первом варианте установки выходной мощности эксплуатация пере датчика не требует регистрации и получения каких-либо разрешений.
При втором варианты установки мощность излучения составит порядка 50 мВт, что позволяет увеличить дальность и стабильность связи. Однако, поскольку в этом случае превышен порог 5 мВт, модем требуется в установленном порядке зарегистрировать в территориальном органе Федеральной службы по надзору в сфере связи, на территории деятельности которого планируется использование данного модема.
ГАРАНТИЙНЫЕ ОБЯЗАТЕЛЬСТВА
Гарантийный срок эксплуатации модема один год. Срок гарантии устанавливается с даты продажи или с даты установки на объекте, но не более двух лет с даты приемки ОТК пред приятия-изготовителя. По вопросам гарантийного обслуживания следует обращаться в орга низацию, осуществившую продажу или установку.
КОМПЛЕКТ ПОСТАВКИ
Штыревая антенна........................................................................................................................ 1 шт.
Руководство по эксплуатации...................................................................................................... 1 экз.
СВИДЕТЕЛЬСТВО О ПРИЕМКЕ
Модем «Риф Link» изготовлен, укомплектован и принят в соответствии с действующей доку ментацией и признан годным к эксплуатации.






